| Produkto kodas | Kėlimo galia, t | Tinkamas sijos plotis, mm | Min. spindulys, m | Ratuko skersmuo, mm | Svoris, kg |
| VTEX0500 | 0,5 | 64–140 | 0,6 | 58 | 7 |
| VTEX1000 | 1,0 | 64–140 | 0,8 | 75 | 12 |
| VTEX2000 | 2,0 | 76–165 | 1,1 | 90 | 20,5 |
| VTEX3000 | 3,0 | 76–305 | 1,4 | 110 | 36,8 |
| VTEX5000 | 5,0 | 88–305 | 1,1 | 122 | 56 |
| VTEX10000 | 10,0 | 125–305 | 1,3 | 151 | 91,9 |
| VTEX20000 | 20,0 | 136–305 | 4,7 | 200 | 230,8 |
– vario danga dentas korpusas;
– darbo temperatūra 10°C – +60°C
– pagal pageidavimą išduodame ATEX Zona 1 CE EX II 2G h IIC T4 / 2D h IIIC T135°C sertifikatą;
– pagal pageidavimą išduodame ATEX Zona 2 CE EX II 3G h IIC T4 / 3D h IIIC T135°C sertifikatą;
– atitinka Mašinų direktyvą 2006/42/EB. Tiekiamos su bandymų sertifikatu, CE atitikties deklaracija ir naudojimo instrukcija;

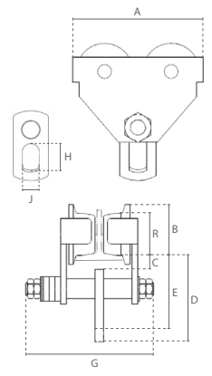
| Kėlimo galia, t | A, mm | B, mm | C, mm | D, mm | E, mm | G, mm | H, mm | J, mm |
| 0,5 | 212 | 70 | 28 | 128 | 113 | 230 | 38 | 24 |
| 1,0 | 255 | 88 | 25 | 143 | 128 | 254 | 50 | 30 |
| 2,0 | 302 | 105 | 28 | 172 | 152 | 294 | 60 | 35 |
| 3,0 | 344 | 126 | 32 | 212 | 186 | 446 | 75 | 45 |
| 5,0 | 378 | 141 | 37 | 254 | 224 | 468 | 95 | 60 |
| 10,0 | 455 | 170 | 37 | 322 | 275 | 505 | 120 | 82 |
| 20,0 | 642 | 238 | 54 | 384 | 314 | 549 | 110 | 110 |


